Smjernice za polaganje
Smjernice za polaganje
Molimo odaberite jedno ili više poglavlja za preuzimanje.
Sadržaj

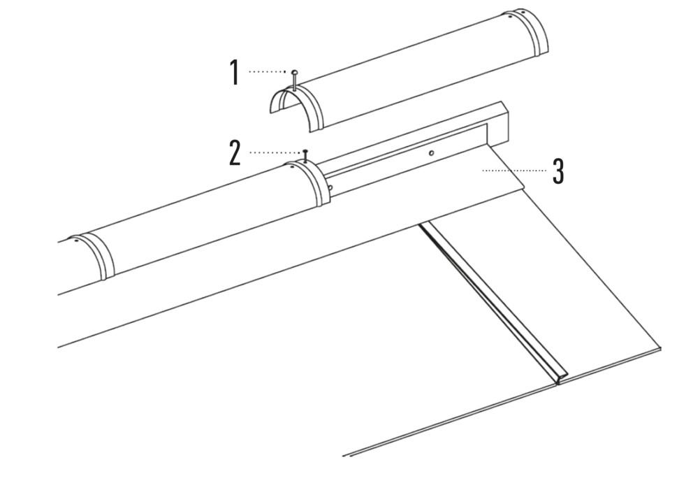
Početna traka za krovnu ploču

Montaža početne trake

Prepust strehe početne trake treba biti u zadnjoj trećini širine žlijeba i ne smije prelaziti 80 mm.
Izmjerite od planiranog gornjeg ruba prve krovne ploče 450 mm u smjeru strehe (pazite da prepust strehe bude između 30 i 80 mm). Napravite 150 mm (širina početne trake) odozdo oznaku (= gornji rub širine početne trake).

Ponovite postupak na drugoj strani strehe i spojite oznake horizontalnim označavanjem linije konopcem u boji.

Početna traka pričvršćuje se čavlima tako da bude otporna na vremenske nepogode (udarite čavle u sve prethodno izbušene rupe). Od početka do kraja učvrstite početnu traku prije nego što zakucate priložene PREFA čavle kroz sve prethodno izbušene rupe.

Napomena

Što preciznije montirate početnu traku, to će vam biti jednostavnije propisno polagati PREFA krovni sustav.
Pazite da se početna traka položi ispod razdjelnog sloja.

Početna traka

Montaža početne trake

Prepust strehe početne trake treba biti u zadnjoj trećini širine žlijeba i ne smije prelaziti 80 mm.
Postavljanje početne trake obavlja se pravolinijski cijelom duljinom strehe pomoću linije koja se prethodno označi konopcem.
Početna traka pričvršćuje se čavlima tako da bude otporna na vremenske nepogode (udarite čavle u sve prethodno izbušene rupe).
Zatim slijedi vertikalno označavanje kuta.
Od početka do kraja učvrstite početnu traku prije nego što zakucate priložene PREFA čavle kroz sve prethodno izbušene rupe.

Napomena

Što preciznije montirate početnu traku, to će vam biti jednostavnije propisno polagati PREFA krovni sustav. Oznake (mjere vezivanja) služe kao pomoć za odgovarajuće PREFA krovne pokrove.

Pazite da se početna traka položi ispod razdjelnog sloja (vidi ilustraciju gore).

Posebnost kod krovne ploče R.16 i krovnog panela FX.12

Poravnajte početnu traku s utisnutim oznakama za krovnu ploču R.16 odnosno krovni panel FX.12 sa sredinom krova.
Ovdje je potrebno paziti da područje za bočno savijanje ruba naviše (npr. izrada okapnice) ne bude u području falca krovne ploče R.16 odnosno krovnog panela FX.12. Po potrebi pomjerite početnu traku za četvrtinu dimenzije krovne ploče R.16 odnosno krovnog panela FX.12.

Posebnost kod krovnog romba 29 × 29 i krovnog romba 44 × 44

Poravnajte početnu traku s utisnutim oznakama sa sredinom krova.
Ovdje je potrebno paziti da područje za bočno savijanje ruba naviše (npr. izrada okapnice) ne bude u sredini krovnih rombova 29 × 29 odnosno 44 × 44
. Eventualno pomaknite početnu traku za četvrtinu dimenzije (1/4 vertikalne mjere vezivanja) krovnog romba 29 x 29 odnosno 44 x 44.

Izrada okapnice i bočni spoj

  • Savijte PREFA krovni pokrov 30 mm naviše u pravom kutu u odnosu na krovnu površinu (slika 1).
  • Postavite gornji rub originalne držeće trake za okapnicu na gornji rub čeone daske i zabijte čavlima držeću traku za okapnicu tako da bude otporna na vremenske nepogode (slika 2).
  • U područjima s dosta snijega izradu okapnice treba izvoditi prema slici 3.
  • Kod izrade okapnice s nagore povučenom čeonom daskom potrebno je primijeniti varijantu u slici 4.

Posebnost kod krovne ploče R.16 i krovnog panela FX.12

Izrežite gornji patentni falc u području uzdignutog ruba tako da ostane spojni falc (slike 1 i 2) i savijte krovnu ploču R.16 ili krovni panel FX.12 naviše za 30 mm pod pravim kutom u odnosu na krovnu površinu.

Posebnost kod krovne šindre

Kod svakog savijanja ruba krovne šindre (traka okapnice i opšav) naviše na lijevoj strani, potrebno je izrezati falceve koji su okrenuti ukoso nadolje kako bi se izbjeglo kapilarno djelovanje.

  • Označite područje savijanja ruba naviše i dodatak za falc od 30 mm (slika 1).
  • Izrežite krovnu šindru s dodatkom za falc (slika 2).
  • Napravite izreske falca (slike 3 i 4).
  • Postavite izrezanu krovnu šindru i savijte njen rub naviše (slike 5 i 6).

Varijante sa skraćenom šindrom i šindrom za prilagodbu

Ostale varijante podrazumijevaju postavljanje kosih falceva sa skraćenom krovnom šindrom ili šindrom za prilagodbu izvan područja savijanja ruba naviše.

Varijanta 1: Skraćena šindra
Skratite i postavite posljednju krovnu šindru prije savijanja ruba naviše (slike 7 i 8).

Varijanta 2: šindra za prilagodbu
Postavite šindru za prilagodbu, izrežite je s dodatkom za falc od 30 mm i savijte njen rub naviše (slike 8 i 9).

Stručna izrada osigurava otpornost krova na kišu.
Nakon pripreme krovnih šindri, spojni se lim (npr. oplata zabata ili uvala spoja sa zidom) može postaviti i ugraditi u pokrov.

Posebnost kod krovne šindre DS.19

Kod svakog savijanja ruba krovne šindre DS.19 (traka okapnice i opšav) naviše na lijevoj strani, potrebno je izrezati falceve koji su okrenuti ukoso nadolje kako bi se izbjeglo kapilarno djelovanje.

  • Označite područje savijanja ruba naviše i dodatak za falc od 30 mm i izrežite je na dodatku za falc (slika 1).
  • Napravite izreske falca (slike 2 i 3).
  • Postavite izrezanu krovnu šindru DS.19 i savijte njen rub naviše (slike 4 i 5).

Varijanta šindre za prilagodbu DS.19

Jedna je varijanta postavljanje falceva s krovnom šindrom DS.19 izvan područja savijanja ruba naviše.

  • Postavite šindru za prilagodbu DS.19 i označite falc okrenut ukoso na gornjem pregibu šindre (slika 6).
  • Oslobodite pregib šindre u obliku polumjeseca oko oznake (slika 7).
  • Postavite i pričvrstite šindru za prilagodbu DS.19 (slika 8).
  • Savijte krovni pokrov naviše. (Slike 9 i 10).

Napomena

Šindra za prilagodbu DS.19 nije prikladna za kompletne krovne pokrove.
POZOR: Skraćivanje krovne šindre DS.19 nije moguće zbog kapilarnog utora.

Stručna izrada osigurava otpornost krova na kišu.
Nakon pripreme krovne šindre DS.19, spojni se lim (npr. oplata okapnice ili uvala spoja sa zidom) može postaviti i ugraditi u pokrov.

Posebnost kod krovnog romba 29 × 29

Kod svakog bočnog savijanja ruba krovnog romba 29 × 29 (traka okapnice i opšav) naviše, potrebno je izrezati i saviti naviše falceve koji su okrenuti ukoso nadolje.

  • Označite područje savijanja ruba naviše i dodatak za falc od 30 mm.
  • Izrežite krovni romb 29 x 29 na dodatku za falc i napravite izrezak falca (slika 1).
  • Savijte i zaoblite oblikovani falc (slika 2)
  • Postavite izrezani krovni romb 29 × 29 i savijte njegov rub naviše (slike 3 i 4).

Stručna izrada osigurava otpornost krova na kišu.

Nakon pripreme krovnih rombova 29 × 29, spojni se lim (npr. oplata zabata ili uvala spoja sa zidom) može uraditi i ugraditi u krovni pokrov.

Posebnost kod krovnog romba 44 x 44

Kod svakog bočnog savijanja ruba krovnog romba 44 × 44 (traka okapnice i opšav) naviše, potrebno je izrezati i saviti naviše falceve koji su okrenuti ukoso nadolje.

  • Označite područje savijanja ruba naviše i dodatak za falc od 30 mm.
  • Izrežite krovni romb 44 x 44 na dodatku za falc i napravite izrezak falca (slika 1).
  • Savijte i zaoblite oblikovani falc (slika 2)
  • Kosi se patentni falc izrezuje na gornjoj strani u području uzdignutog ruba (slika 3).
  • Postavite izrezani krovni romb 44 × 44 i savijte njegov rub naviše (slika 4).

Stručna izrada osigurava otpornost krova na kišu.
Nakon pripreme krovnih rombova 44 × 44, spojni se lim (npr. oplata zabata ili uvala spoja sa zidom) može uraditi i ugraditi u krovni pokrov.

Izrada uvale

Varijanta sa sigurnosnom uvalom

1 Krovna ploča
2 Sloj vodonepropusne, paropropusne folije
3 Učvršćivač

4 Zabatni lim
5 daska uvale

Kod sigurnosne uvale riječ je o preporuci tvrtke PREFA.
Polagač je taj koji inače odlučuje na temelju svog iskustva i obuke hoće li koristiti sigurnosnu uvalu. Sigurnosna uvala u usporedbi s normalnim limovima s uvalom pruža povećanu sigurnost u pogledu zastoja vode u osjetljivom području uvale.


Prednosti sigurnosne uvale:

  • zaštita od zastoja vode zahvaljujući dodatnom porubljivanju unatrag
  • predgotovljen PREFA proizvod
  • dodatna porubljavanja u području preklapanja
  • kapilarni utori u području preklapanja
  • bolja mogućnost hodanja, povećana stabilnost.

Varijanta sa sigurnosnom uvalom koju je napravio majstor

1 Krovna ploča
2 Sloj vodonepropusne, paropropusne folije
3 Učvršćivač

4 Zabatni lim
5 daska uvale

  • Izradite lim s uvalom do maksimalne duljine od 3.000 mm.
  • Bočni falc za vodu savija se na obje strane sa širinom od 40 mm.
  • Širina rezanja ovisi o obliku krova, nagibu krova i drugim okolnostima i ne bi trebala prekoračiti 500 mm.
  • Kada su nagibi krova veoma različiti odnosno kada je pad vode veoma različit, planira se produbljena uvala ili stojeći falc u sredini lima s uvalom.

Spoj uvale

  • Na spoju uvale PREFA krovni pokrov koji se treba umetnuti označava se na otprilike 35 mm i obrezuje (slike 1 i 2).
  • Označeni spojni falc se presavija (slika 3).
  • Napravljeni PREFA krovni pokrov se vješa i polaže (slika 4).

Posebnosti krovne ploče

Smjer pokrivanja treba uvijek odabrati u smjeru uvale. Time se u slučaju klizanja snijega i leda u ovom području sprječava savijanje preklopnog utora naviše.

  • Namjestite ploču i povucite unutarnji rub za pregib uvale, odrežite ploču s dodatkom od otprilike 35 mm (slika 1).
  • Pomalo iskuckajte utor u području ruba savijanja i savijte ploču za 180° u smjeru stražnje strane ploče. Zatim umetnite ploču i pričvrstite je učvršćivačima (slike 2 i 3).
  • Budući da je odmotavanje ploče bilo istegnuto kod ruba savijanja, najlakši način za vraćanje utora u pokrivenom stanju u prvotni oblik je nakošenom ručkom čekića. Time se sprječava pomicanje ploče (slika 4).

Posebnosti kod krovne šindre i krovne šindre DS.19

Napomena

Točka rezanja lijevo od uvale mora se obvezno izbjeći kod krovne šindre i krovne šindre DS.19.

Krovna šindra

Kada se točka rezanja uvala / spoj šindre lijevo podudara s uvalom, potrebno je kod krovne šindre prethodno napraviti i montirati skraćenu krovnu šindru (1) ili šindru za prilagodbu (1).

Krovna šindra DS.19

Kada se točka rezanja uvala / spoj šindre lijevo podudara s uvalom, potrebno je kod krovne šindre DS.19 prethodno napraviti i montirati šindru za prilagodbu DS.19 (1).
Skraćivanje krovne šindre DS.19 nije moguće zbog kapilarnog utora.

Posebnost kod krovne ploče R.16 i krovnog panela FX.12

  • Kada se točka rezanja uvala / spoj ploče podudara, potrebno je prethodno napraviti i montirati šindru za prilagodbu (slika 1).
    Napomena: Obvezno se moraju izbjegavati točke rezanja kod limenih uvala koje napravi majstor.
  • Kako biste izbjegli točku rezanja, od cijele krovne ploče R.16 ili krovnog panela FX.12 oblikujte komad za prilagodbu (slike 2 i 3).
    POZOR: Odaberite veličinu komada za prilagodbu tako da on nema utjecaja na postavljanje snjegobrana. Točna izvedba jasno je vidljiva na poravnatim snjegobranima.

Napomena

Kod uporabe sigurnosne uvale spoj uvale može se napraviti tako da točka rezanja uvala / spoj ploče bude podudarna.

Izrada grebena i sljemena

Ovisno o krovnoj konstrukciji i funkcionalnosti postoje različite mogućnosti.

Jet-odzračni sljemenjak

Jet-odzračni sljemenjak može se koristiti kod krovnih nagiba 12° – 55°.
Originalni jet-odzračni sljemenjak posjeduje opšavni lim na obje strane. Ipak povucite krovni pokrov 40 mm nagore kako biste postigli spoj otporan na kišu.
Pričvrstite posljednji (po potrebi izrezani) red ploča trakom za dodatno učvršćenje izravnim pričvršćenjem bočno na vrh vala podloženog vala (za PREFA krovne ploče) ili pomoću izravnog pričvršćenja iznad spužvastog zaglavka jet-odzračnog sljemenjaka.

Montaža

  • Poravnavanje posljednjeg reda treba obaviti tako da nastane zračni zazor od 80 mm. Postavite PREFA krovne elemente oko 40 mm vertikalno (slika 1).
  • Primjenjujte dilatacijsku fugu od otprilike 5 mm između pojedinačnih jet-odzračnih sljemenjaka i zatim povucite otprilike 50 mm ljepljive zaštitne folije brtvenog zaglavka te je savijte prema van. (slika 2).
  • Namjestite u sredini dvije spojne čahure i učvrstite ih s po jednom PREFA zakovicom Ø 4,1 mm kao fiksnu točku (slika 3).
  • Zalijepite brtveni zaglavak s već oslobođenom brtvenom površinom ispod spojnih čahura. Potom skinite ljepljivu zaštitnu foliju (slika 4).
  • Pričvrstite sljemenski odzračnik PREFA brtvenim vijcima (60 mm duljine) u razmaku od oko 600 mm (slika 5).
    Napomena:
    — Kod krovnih ploča postavljajte brtveni vijak uvijek na vrhu utora.
    — Kod krovnih šindri i rombova nemojte postavljati pričvršćenje na kosom falcu s kvačicama.
    — Kod FX.12 i R.16 nemojte postavljati pričvršćenje na kutnom stojećem falcu.
  • Prijedlog za montažu prednje glave jet-odzračnog sljemenjaka (slika 6).
    Savjet: najprije montirajte pokrovni lim u rubnom području i uspravite 30 mm za traku zabata, zatim postavite traku zabata.
  • Prilagodite prednju glavu jet-odzračnog sljemenjaka i pričvrstite je zakovicom (slika 7).
  • Primjer: otpad grebena/sljemena (slika 8)

Napomena

Pazite da spužvasti zaglavak naliježe preko cijele duljine na krovnom pokrovu.

Napomena

Pri raspoređivanju odvodnih otvora za zrak na sljemenu kod jednoslojnih krovnih konstrukcija ne može se u potpunosti isključiti prodiranje snijega nošenog vjetrom.

Krovna kućica s dvostrešnim krovom

Kod spajanja jet-odzračnog sljemenjaka s uvalom, jet-odzračni sljemenjak brtvi se završetkom i mora biti tako izveden da voda padalina ne može dospjeti s površine glavnog krova u jet-odzračni sljemenjak.

Izrada grebena i sljemena grebenjacima i sljemenjacima

Za otpornost krova na nanose snijega nužno je podići PREFA krovni pokrov najmanje 40 mm u području grebenskog i sljemenskog dijela.
Ako je posljednji red ploča izrazito kratak, moguće je trakastim limom kontinuirano izvesti opšavni lim.

Savjet: označite sredinu sljemenske letve konopcem u boji kako biste osigurali precizan tok.

Napomena

Precizno izrežite sljemenjake u obliku utora odnosno falceva.

1 Brtveni vijak

2 čavao

1 Brtveni vijak
2 čavao

3 opšavni lim

Primjer oblikovanja grebena/sljemena

  • Urežite dva grebenjaka koji se protežu preko grebena tako da se na trokutastoj strani preklapaju otprilike 10 mm i potom ih pričvrstite za krovne daske vijcima (slika 1).
  • Zatim izrežite pola grebenjaka tako da prekriva rez oba grebenjaka ispod. Kako biste olakšali prilagodbu gornjeg dijela, povucite vanjski dio izreza kao što se vidi na slici (slika 2).
  • Nakon pričvršćivanja tako napravljenog grebenjaka na sljemensku letvu, možete nastaviti uobičajenim grebenjacima (slika 3).

Posebnost kod krovne ploče

Ako se kod krovne ploče montira kontinuirani opšavni lim, gornji pregib ploče poravnava se tako da je moguće objesiti ravni opšavni lim.

  • Urežite pregib vršne točke utora i podignite pregib željeznom polugom za oplatu (slike 1 i 2).
  • Lupkajući čekićem poravnajte utor tako da se oblikuje ravnomjerno otvoren falc. Zarezivanje nije potrebno kod spoja ploča (slika 3).
  • Sada se opšavni lim može zakvačiti bez problema (slika 4).

Posebnost kod krovnog romba 29 x 29 i 44 x 44

Ako se kod krovnih rombova 29 x 29 ili 44 x 44 montira kontinuirani opšavni lim, koriste se završne ploče za krovne rombove 29 × 29 ili 44 × 44. One omogućuju horizontalni spojni falc.

Između završnih ploča za krovni romb 29 × 29 potrebno je montirati isporučenu pokrovnu traku (1).

Jednostavna izrada sljemena sa spojnim falcom

Nakon rezanja PREFA krovnog pokrova napravite spojni falc.

Posebnost kod krovnih ploča

Nakon rezanja krovne ploče, središnjem se utoru dodaje stezni nabor kako bi se napravio spojni falc. Stezni nabor može se napraviti kliještima za savijanje ili uređajem za izradu utora.

Izrada sljemena s jednostavnom kapom sljemena

Jednostavna kapa sljemena može se koristiti ako je razmak između PREFA krovnog pokrova i točke sljemena manji od 150 mm te nije potrebno odzračivanje.

Izrada krovnog prekida

krovna ploča

Izrada se obavlja s dvije početne trake.

1. Početna traka za krovnu ploču

2. početna traka za krovnu ploču s utorom

  • Postavite prvu početnu traku (1.806 × 150 mm) kao inače.
  • Drugu početnu traku postavite (početna traka s utorom) iznad prvog reda ploča u visini falca glavne krovne površine. Umetnite na mjestu postavljanja brtvenu traku kako biste dobili zazor za spojni falc krovne ploče iznad (slika 1).
  • Red krovnih ploča koji slijedi može se položiti preko cijele širine (slika 2).

Krovna ploča R.16 i krovni panel FX.12

  • Označite 30 mm prepusta i izrežite krovnu ploču R.16 / krovni panel  FX.12 (slika 1).
  • Urežite i izrežite gornji falc oko 200 mm (slika 2).
  • Gornji spojni falc kontinuirano se savija naviše (slika 3).
  • Savijte dodatak od 30 mm naviše i ufalcajte letvu zabata (slika 4).
  • Označite krovnu ploču R.16 / krovni panel FX.12 koji treba skratiti na krovnom prekidu i izrežite ga (slika 5).
  • Položite izrezanu krovnu ploču R.16 / krovni panel FX.12 (slika 6).
  • Obje krovne ploče R.16 / oba krovna panela FX.12 zajedno se presavijaju a u spojnom području postavlja se falc (slika 7).
  • Spojni falc se savija unatrag i pričvršćuje patentnim učvršćivačem (slika 8).
  • Red krovnih ploča R.16 / krovnih panela FX.12 koji slijedi može se položiti preko cijele širine (slika 9).

Krovna šindra i krovna šindra DS.19

  • Ako krovni prekid zahtijeva prvi red sa skraćenim šindrama, onda se skraćuju krovne šindre / krovne šindre DS.19 (slika 1).
  • Red krovnih šindri koji slijedi može se postaviti preko cijele širine (slika 2).
  • Završeni pokriveni krovni prekid (slika 3).

Krovni romb 29 × 29 i krovni romb 44 × 44

Kod krovnih prekida s krovnim rombom 29 × 29 odnosno 44 × 44 u većini slučajeva potrebno je izraditi odgovarajući lim strehe. Time se može početi početna ploča s krovnim rombom 29 × 29 ili 44 × 44 (slike 1A i 1B).

Varijanta A: horizontalni falc

Red krovnih rombova koji slijedi može se položiti preko cijele širine (slike 2A i 2B).

Varijanta B: vertikalni falc

Završeni položeni krovni prekid (slike 3A i 3B).

Spoj na ležeći žlijeb (natkrovni žlijeb)

Porubite početnu traku 1806 x 150 mm prema sljedećoj slici (2 podupirača).